Kode QR
Tentang Kami
Produk
Hubungi kami


Fax
+86-574-87168065

Surel

Alamat
Kawasan Industri Luotuo, Distrik Zhenhai, Kota Ningbo, Cina
Kopling Universal Tipe Pengelasan Fleksibel SWC-BH Standar Raydafon dirancang khusus untuk transfer torsi tugas berat dalam skenario alat berat yang berat—misalnya rolling mill, crane, dan peralatan pertambangan yang beroperasi di bawah tekanan tinggi yang konstan.
Dilengkapi dengan kuk yang dilas sebagai fitur desain utama, dan diameter girasinya mencakup rentang praktis: dari 180mm hingga 620mm. Yang membedakannya untuk pekerjaan berat adalah kemampuannya menangani ketidaksejajaran sudut hingga 15 derajat, ditambah lagi ia dapat menahan beban torsi hingga 1250 kN·m—keduanya penting untuk menjaga pengoperasian tetap stabil bahkan dalam kondisi kerja yang berat.
Kualitas pembuatan difokuskan pada daya tahan: kopling menggunakan baja 35CrMo berkekuatan tinggi untuk ketangguhan yang tahan lama, dipasangkan dengan bantalan jarum presisi untuk memastikan kinerja yang mulus dan andal dari waktu ke waktu. Hal ini menjadikannya pilihan tepat untuk dua kebutuhan utama: kopling universal yang disesuaikan untuk alat berat, dan kopling universal las yang cocok untuk aplikasi kelas industri.
Raydafon memproduksi kopling ini di Tiongkok, dan semua produksi mengikuti standar ISO 9001 untuk menjamin kualitas yang konsisten. Selain itu, ia menawarkan opsi khusus untuk memenuhi kebutuhan spesifik—semuanya dengan harga yang tetap kompetitif untuk bisnis yang mencari keandalan dan nilai.
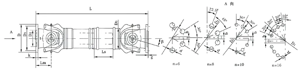
| TIDAK. | Diameter girasi D mm | Torsi nominal Tn KN·m | Sudut lipatan sumbu β (°) | Torsi yang melelahkan Tf KN·m | Kuantitas fleksibel L mm | Ukuran (mm) | Inersia berputar kg.m2 | Berat (kg) | |||||||||||
| sebentar | D1 (js11) | D2 (H7) | D3 | Lm | dan | k | t | b (h9) | g | sebentar | Meningkatkan 100mm | sebentar | Meningkatkan 100mm | ||||||
| SWC58BH | 58 | 0.15 | 0.075 | ≤22 | 35 | 325 | 47 | 30 | 38 | 35 | 4-5 | 3.5 | 1.5 | - | - | - | - | 2.2 | - |
| SWC65BH | 65 | 0.25 | 0.125 | ≤22 | 40 | 360 | 52 | 35 | 42 | 46 | 4-6 | 4.5 | 1.7 | - | - | - | - | 3 | - |
| SWC75BH | 75 | 0.5 | 0.25 | ≤22 | 40 | 395 | 62 | 42 | 50 | 58 | 6-6 | 5.5 | 2 | - | - | - | - | 5 | - |
| SWC90BH | 90 | 1 | 0.5 | ≤22 | 45 | 435 | 74.5 | 47 | 54 | 58 | 4-8 | 6 | 2.5 | - | - | - | - | 6.6 | - |
| SWC100BH | 100 | 1.5 | 0.75 | ≤25 | 55 | 390 | 84 | 57 | 60 | 58 | 6-9 | 7 | 2.5 | - | - | 0.0044 | 0.00019 | 6.1 | 0.35 |
| SWC120BH | 120 | 2.5 | 1.25 | ≤25 | 80 | 485 | 102 | 75 | 70 | 68 | 8-11 | 8 | 2.5 | - | - | 0.0109 | 0.00044 | 10.8 | 0.55 |
| SWC150BH | 150 | 5 | 2.5 | ≤25 | 80 | 590 | 13 | 90 | 89 | 80 | 8-13 | 10 | 3 | - | - | 0.0423 | 0.00157 | 24.5 | 0.85 |
| SWC160BH | 160 | 10 | 5 | ≤25 | 80 | 660 | 137 | 100 | 95 | 110 | 8-17 | 15 | 3 | 20 | 12 | 0.145 | 0.006 | 68 | 1.72 |
| SWC180BH | 180 | 20 | 10 | ≤25 | 100 | 810 | 155 | 105 | 114 | 130 | 8-17 | 17 | 5 | 24 | 14 | 0.175 | 0.007 | 70 | 2.8 |
| SWC200BH | 200 | 32 | 16 | ≤15 | 110 | 860 | 170 | 120 | 127 | 135 | 8-17 | 19 | 5 | 28 | 16 | 0.31 | 0.013 | 86 | 3.6 |
| SWC225BH | 225 | 40 | 20 | ≤15 | 140 | 920 | 196 | 135 | 152 | 120 | 8-17 | 20 | 5 | 32 | 9 | 0.538 | 0.0234 | 122 | 4.9 |
| SWC250BH | 250 | 63 | 31.5 | ≤15 | 140 | 1035 | 218 | 150 | 168 | 140 | 8-19 | 25 | 6 | 40 | 12.5 | 0.966 | 0.0277 | 172 | 5.3 |
| SWC285BH | 285 | 90 | 45 | ≤15 | 140 | 1190 | 245 | 170 | 194 | 160 | 8-21 | 27 | 7 | 40 | 15 | 2.011 | 0.051 | 263 | 6.3 |
| SWC315BH | 315 | 125 | 63 | ≤15 | 140 | 1315 | 280 | 185 | 219 | 180 | 10-23 | 32 | 8 | 40 | 15 | 3.605 | 0.0795 | 382 | 8 |
| SWC350BH | 350 | 180 | 90 | ≤15 | 150 | 1410 | 310 | 210 | 267 | 194 | 10-23 | 35 | 8 | 50 | 16 | 7.053 | 0.2219 | 582 | 15 |
| SWC390BH | 390 | 250 | 125 | ≤15 | 170 | 1590 | 345 | 235 | 267 | 215 | 10-25 | 40 | 8 | 70 | 18 | 12.164 | 0.2219 | 738 | 15 |
| SWC440BH | 440 | 355 | 180 | ≤15 | 190 | 1875 | 390 | 255 | 325 | 260 | 16-28 | 42 | 10 | 80 | 20 | 21.42 | 0.4744 | 1190 | 21.7 |
| SWC490BH | 490 | 500 | 250 | ≤15 | 190 | 1985 | 435 | 275 | 325 | 270 | 16-31 | 47 | 12 | 90 | 22.5 | 32.86 | 0.4744 | 1452 | 21.7 |
| SWC550BH | 550 | 710 | 355 | ≤15 | 240 | 2300 | 492 | 320 | 426 | 305 | 16-31 | 50 | 12 | 100 | 22.5 | 68.92 | 1.357 | 2380 | 34 |
Ketika kita berbicara tentang perlengkapan industri tugas berat yang menjaga daya mengalir dengan andal, kopling sambungan universal SWC (sering disebut kopling sambungan universal poros cardan SWC) adalah bagian yang tidak dapat dinegosiasikan. Anda akan mengalami kesulitan saat bekerja di pabrik penggilingan, mesin pengangkat, dan semua jenis sistem alat berat yang tangguh—tempat di mana mengambil jalan pintas dalam transmisi daya bukanlah suatu pilihan.
Pekerjaan utamanya? Hubungkan dua poros transmisi yang tidak sejajar sempurna (sumbu tidak bertepatan) dan pastikan tenaga tetap mengalir tanpa hambatan, bahkan ketika kondisi pengoperasian menjadi sulit. Tidak ada gangguan, tidak ada jeda—hanya transfer stabil pada saat yang paling penting.
Mari kita uraikan spesifikasi utamanya yang memungkinkan kinerja ini:
Diameter girasi: Berkisar antara φ58 hingga φ620, mencakup berbagai kebutuhan industri. Torsi nominal: Dapat menangani mulai dari 0,15 kN·m hingga 1000 kN·m—cukup kuat bahkan untuk kebutuhan torsi tinggi. Sudut lipat sumbu: Dapat mengambil sudut hingga 25° tanpa mengurangi fungsi, cocok untuk poros yang tidak dapat tetap sejajar sempurna.
Di mana yang paling menonjol? Bayangkan saja pengoperasian rolling mill—yang berfungsi sebagai kopling sambungan universal tugas berat yang andal dan mampu bertahan di bawah tekanan kuat dari pabrik. Atau dalam peralatan pengangkat dan penanganan material, dengan kopling poros sambungan universal SWC yang tahan lama, alat ini menjaga kestabilan bahkan ketika beban menjadi berat. Hal ini tidak hanya berhasil—tetapi juga menjaga operasional tetap stabil ketika keadaan menjadi sulit.
Kopling sambungan universal SWC tidak hanya disatukan—tetapi dirancang dari awal agar kokoh di lingkungan industri, dengan fitur yang meningkatkan kinerja dan umur panjang. Mari kita lihat lebih dekat apa yang membuat strukturnya bekerja dengan baik.
Desain Cerdas dan Aman
Intinya adalah desain kepala garpu yang terintegrasi—tidak ada bagian terpisah yang disatukan dengan baut di sini. Hal ini penting karena mengurangi risiko baut lepas atau patah, yang merupakan masalah umum pada pengaturan lainnya. Faktanya, desain ini meningkatkan kekuatan struktural sebesar 30% hingga 50% dibandingkan gaya lama. Bagi siapa pun yang mengandalkan kopling sambungan universal alat berat, hal ini berarti lebih sedikit kerusakan saat keadaan menjadi semakin intens. Ini adalah jenis kopling sambungan universal yang kuat yang terus berjalan dengan lancar, bahkan di lingkungan bertekanan tinggi di mana bagian lain mungkin rusak.
Dibangun untuk Membawa Beban
Ini bukan konektor biasa. Kopling sambungan universal tugas berat SWC dibuat untuk menangani beban berat—misalnya peralatan pertambangan, mesin konstruksi, dan alat berat lainnya. Saat Anda memerlukan kopling sambungan universal kokoh yang tidak akan mundur saat berada di bawah tekanan, inilah solusinya. Ini bukan hanya soal ukuran; ini tentang material dan teknik yang bekerja sama untuk menambah bobot tanpa cepat rusak.
Memindahkan Daya Secara Efisien
Pernahkah Anda bertanya-tanya ke mana seluruh energi disalurkan ke industri besar? Tidak banyak yang terbuang di sini. Kopling sambungan universal torsi tinggi ini mencapai tingkat efisiensi hingga 98,6%, yang berarti lebih sedikit energi yang hilang karena panas atau gesekan. Bagi operasional yang ingin memangkas biaya, hal ini merupakan sebuah kemenangan besar. Ini adalah jenis kopling sambungan universal yang efisien yang membuat perbedaan dalam sistem transmisi daya besar, bertindak sebagai kopling sambungan universal yang andal yang menjaga tagihan energi tetap terkendali.
Tenang dan Mantap
Suara mesin yang berisik dapat menjadi masalah nyata, terutama di ruangan yang mengutamakan kebisingan. Kopling sambungan universal SWC menjaga suasana tetap tenang, dengan tingkat kebisingan biasanya antara 30-40 dB(A)—lebih senyap dibandingkan percakapan normal. Hal ini menjadikannya kopling sambungan universal dengan kebisingan rendah yang bagus untuk lingkungan yang mengutamakan suara rendah, tanpa mengorbankan keandalan yang Anda perlukan. Baik di lantai pabrik atau bengkel presisi, kopling sambungan universal yang berjalan mulus ini menyelesaikan pekerjaan tanpa raket.
Kopling Universal Tipe Pengelasan Fleksibel Standar SWC-BH bukan sekadar bagian lain—ini adalah perangkat keras yang dibuat untuk memindahkan daya secara efisien, bahkan saat alat berat berada di bawah tekanan berat. Mari kita uraikan di mana ia benar-benar bersinar.
Ambil contoh alat berat dan peralatan konstruksi. Saat Anda menghadapi beban ekstrem dan getaran konstan—misalnya ekskavator atau buldoser—kopling ini tidak akan mundur. Desainnya yang dilas menambah ketangguhan ekstra, sehingga bertahan lebih lama dari opsi lebih tipis yang mungkin retak atau aus akibat semua pergerakan tersebut. Ini adalah jenis kopling universal torsi tinggi yang menjaga tenaga tetap mengalir, tidak peduli seberapa berat pekerjaannya.
Di pabrik, khususnya pada jalur konveyor dan sistem perakitan, presisi sangatlah penting. Kopling universal kelas industri ini menangani sudut dan perpindahan gigi tanpa henti, menjaga kecepatan tetap stabil. Hal ini berarti lebih sedikit waktu untuk memperbaiki kerusakan dan lebih banyak waktu untuk menjaga produksi tetap pada jalurnya. Insinyur menyukainya karena beradaptasi dengan ketidakselarasan aksial, radial, dan sudut—pergeseran kecil yang dapat membuat bagian lain terlepas.
Di bidang otomotif dan transportasi, poros penggerak memerlukan sesuatu yang dapat diandalkan untuk mengalirkan tenaga dengan lancar. SWC-BH cocok digunakan, baik di truk, kereta api, atau kendaraan lain. Desain pengelasannya yang fleksibel memudahkan untuk dimasukkan ke dalam pengaturan yang sudah ada, menangani kecepatan tinggi tanpa mengambil jalan pintas dalam hal keselamatan. Ini adalah kopling universal poros penggerak untuk menjaga segala sesuatunya tetap bergerak.
Pekerjaan kelautan dan lepas pantai memerlukan peralatan yang berat—air asin, cuaca buruk, muatan yang tidak dapat diprediksi. Kopling ini juga berlaku di sini. Sebagai kopling universal kelautan yang tahan korosi, ia tahan terhadap semprotan garam dan gelombang laut yang ganas, menjaga mesin kapal dan mesin bantu tetap bekerja secara konsisten. Tidak ada kegagalan yang berhubungan dengan karat, tidak ada penghentian yang tidak terduga.
Pengaturan energi terbarukan seperti turbin angin dan pelacak surya memerlukan komponen yang tidak membuang energi. SWC-BH berperan sebagai penghubung universal energi terbarukan, mentransfer daya tanpa adanya reaksi balik. Teknologi ini memenuhi standar kualitas global, sehingga baik di pembangkit listrik tenaga angin di Eropa atau di pembangkit listrik tenaga surya di Asia, produk ini dapat memberikan hasil.
Di Raydafon, kami tidak hanya menjual kopling ini—kami juga menyesuaikannya. Butuh ukuran, material, atau kapasitas torsi tertentu? Tim kami menyesuaikan SWC-BH agar sesuai dengan kebutuhan Anda. Hubungi kami dan kami akan membantu Anda mendapatkan hasil maksimal dari sistem Anda.
Saat Anda mencari seseorang yang dapat dipercaya dengan komponen mekanis—terutama hal-hal seperti Kopling Universal Tipe Pengelasan Fleksibel Standar SWC-BH—Raydafon bukan sekadar pilihan lain. Kami adalah produsen yang mengutamakan kualitas, dan hal itu terlihat pada setiap bagian yang kami buat.
Pertama, kualitas bukanlah sebuah renungan bagi kami. Kami menggunakan teknik teknik tingkat atas dan memasang setiap sambungan sambungan universal—baik yang bertorsi tinggi untuk alat berat atau model kelas industri untuk pengaturan pabrik—melalui pemeriksaan yang ketat. Setiap bagian memenuhi standar ISO 9001, dan kami mengujinya dengan keras: beban ekstrem, kondisi kasar, apa pun yang dilakukan industri Anda. Tujuannya? Tidak ada kegagalan yang tidak terduga, risiko yang lebih kecil untuk pengoperasian Anda, dan perpaduan yang menjaga sistem Anda tetap berjalan lancar.
Lalu ada penyesuaian. Jujur saja—tidak ada dua pekerjaan yang sama. Mungkin Anda memerlukan kopling universal poros penggerak dengan dimensi tertentu, atau kopling universal penggerak kelautan yang terbuat dari bahan tahan korosi, atau bahkan kopling universal energi terbarukan yang disetel untuk torsi yang tepat. Kami tidak menjadikan Anda bagian yang “satu ukuran untuk semua”. Beri tahu kami apa yang Anda butuhkan, dan kami akan menyesuaikannya agar sesuai dengan pengaturan Anda saat ini—baik di bidang otomotif, kelautan, atau sistem tenaga surya/angin.
Dan kami menyadari bahwa biaya juga penting. Anda tidak harus memilih antara kopling yang bagus dan harga yang wajar. Kami telah mengoptimalkan rantai pasokan dan meningkatkan produksi sehingga kami dapat menawarkan harga yang kompetitif bahkan untuk suku cadang khusus—seperti kopling universal penggerak laut atau model industri torsi tinggi—tanpa mengurangi kualitas. Ini tentang memberi Anda nilai yang bertahan lama, bukan hanya bagian murah yang cepat rusak.
Tim kami juga tidak hilang setelah Anda menekan “pesan”. Dari panggilan pertama—saat Anda mencoba mencari tahu kopling sambungan universal mana yang paling cocok untuk peralatan energi terbarukan atau lini pabrik Anda—hingga dukungan purna jual jika Anda memiliki pertanyaan, kami siap membantu. Kami memiliki pengalaman industri selama bertahun-tahun, sehingga kami dapat memandu Anda mengambil pilihan yang tepat, membantu Anda menghindari waktu henti, dan memastikan kopling Anda melakukan apa yang Anda perlukan.
Di Raydafon, kami tidak hanya menjual suku cadang—kami juga membangun kemitraan. Kami ingin menjadi tim yang Anda percayai untuk menjaga operasional Anda tetap maju, dengan solusi bersama universal yang bekerja keras seperti Anda. Jika Anda memiliki kebutuhan khusus, hubungi pakar kami sekarang—mari kita bahas bagaimana kami dapat membantu.
Alamat
Kawasan Industri Luotuo, Distrik Zhenhai, Kota Ningbo, Cina
Telp
Surel


+86-574-87168065


Kawasan Industri Luotuo, Distrik Zhenhai, Kota Ningbo, Cina
Hak Cipta © Raydafon Technology Group Co., Limited Semua Hak Dilindungi Undang-Undang.
Links | Sitemap | RSS | XML | Kebijakan Privasi |
